Gambar dan Ukuran Lapangan Lempar Lembing – Bagaimana lapangan lempar lembing di gambarkan? Pertanyaan tersebut tentu sering muncul dalam pikiran kita, terlebih lagi bagi siswa-siswi yang sedang mendapatkan soal untuk menggambarkan Lapangan Lempar Lembing berserta ukurannya dari guru mereka.
Untuk itu, dalam artikel ini kami akan merangkum artikel mengenai lapangan lempar lembing secara lengkap dan padat, anda juga akan menemukan informasi mengenai ukuran dan contoh gambarnya disini.
Tanpa berlama-lama lagi, berikut informasinya kami rangkum untuk anda, silahkan baca dengan seksama agar tidak muncul ke-keliruan sehingga apa yang anda pahami dengan apa yang kami bagikan tidak tidak melenceng ke titik yang tidak relevan.
Pelajari juga: Gambar Lapangan Bola Kasti Beserta Ukurannya
Ukuran Lapangan Lempar Lembing
Seperi yang kita ketahui, Lempar lembing adalah salah satu cabang dari olahraga atletik nomor lempar. Sesuai dengan namanya, yang dilempar dalam hal ini tidak lain ialah Lembing.
Lembing sendiri merupakan suatu properti atau peralatan yang berbentuk seperti tombak dengan sudut yang tumpul dan tajam di salah satu ujungnya.
Olahraga lempar lembing sendiri dilakukan dengan cara melempar lembing menggunakan tangan secara sekuat tenaga untuk menghasilkan jarak lemparan yang sangat jauh.
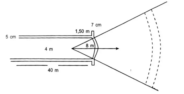
Peraturan tentang ukuran lapangannya sendiri di tetapkan oleh IAAF yang merupakan induk organisasi lempar lembing. Berikut informasi mengenai ukuran lapangan lempar lembing kami bagikan dalam bentuk tabel agar memudahkan.
| Lebar Awalan: | 4 Meter |
| Panjang awalan: | 40 meter |
| Sudut lemparan: | 30 Derajat |
| Lebar Garis Lempar adalah: | 7 m |
| BC merupakan busur, Jari-jari AB=AC: | 8 m |
| Lebar garis lurus sisi kanan dan kiri adalah : | 1,5 m |
Baca juga: Gambar Lapangan Tenis Meja Beserta Ukurannya
Keterangan:
- Lintasan awal lapangan ini dibatasi dengan garis 5 cm yang terpisah dengan arak 4 meter. Panjang lintasannya sendiri minimal 30 m dengan maksimal 36,5m.
- Lengkungan lemparan selebar 7 cm yang terbuat dari kayu atau logam serta berwarna putih. Lengkungan tersebut berbentuk datar dengan tanah dan juga merupakan busur dari lingkaran yang berjari-jari 8 meter.
- Area lemparan memiliki sudut 29-30 derajat yang dibentuk dari dua garis di dari titik pusat lengkung lemparan memotong kedua ujung lengkung lemparan, dengan tebal garis sektor 5 cm.
Gambar Lapangan Lempar Lembing
Berikut merupakan contoh gambar dan ukuran lapangan lempar lembing jika digambarkan dalam buku tulis.

Keterangannya:
- Memiliki panjang lintasan minimal 30m dan maksimal 36,5m.
- Adanya garis pembatas berukuran 5 sm di lintasan awal dan terpisah 4 meter.
- Lengkungan lemparan tersebut terbuat dari kayu atau logam dan berwarna putih selebar 7cm.
- Lengkungan tersebut memiliki permukaan yang rata dan berupa busur dari lingkaran yang memiliki dimeter 8 meter.
- Terdapat sudut lemparan berupa pertemuan dua garis antara pusat lengkung lemparan dengan membentuk sudut 29 hingga 30 derajat serta memotong ujung lengkung lemparan dan memiliki ketebalan 5 cm.
- Di titik pusat gravitasi lembing juga terdapat 1,5 meter.
- Memiliki lebar awalan: 4 meter.
- Panjang awalan: 40 meter.
- Sudut lemparan: 30 derajat.
- Lebar Garis Lempar: 7 meter.
- Lebar garis lurus sisi kanan dan kiri adalah : 1,5 meter.
Ukuran Lembing
Selain ukuran lapangan, Tongkat atau tombak yang digunakan juga memiliki peraturannya sendiri mengenai ukuran dan bentuknya. Hal ini tentunya bertujuan agar tongkat lembing yang dipakai memiliki kesamaan di seluruh dunia.
Detail mengenai ukuran lembing sendiri terdiri dari tiga tingkatan utama, yaknik mata lembing, badan lembing dan tali pegangan pada tongkat lembing tersebut.
Berikut detai mengenai ukuran lembing yang digunakan:
- Panjang lembing yang digunakan oleh pemain putra berkisar antara 2,6 m sampai 2,7 m dengan berat 800 gram.
- Sementara untuk panjang tongkat lembing yang digunakan untuk putri adalah 2,2 m sampai 2,3 m dengan berat 600 gram.
- Pegangan pada tongkat lembing sendri memiliki lebar 150 mm serta terdapat gravitasi lembing berukuran sekitar 0,9 sampai 1,06 m dari ujung lembing untuk lembing putra dan 0,8 sampai 0,92 m dari ujung lembing untuk lembing putri.
Demikianlah rangkuman penjelasan mengenai gambar dan ukuran lapangan lempar lembing yang dapat kami bagikan untuk anda. Terimakasih dan semoga bermanfaat.
Pelajari juga: Gambar Lapangan Bola Voli Beserta Ukurannya